引言/導讀
沈機(上海)智能系統研發設計有限公司(以下稱“沈機智能”),由沈陽機床集團于2015年投資創建,致力于面向機床行業的運動控制技術及云制造技術的產品研發和技術儲備。沈機智能前身為沈陽機床(集團)設計研究院有限公司上海分公司(以下稱“沈陽機床上海研究院”),歷時7年完成了i5數控系統的技術研發及產業化,并推出自主品牌伺服驅動器(HSHA系列產品)和智能工廠管理軟件(WIS系統軟件)。
沈機智能在完成i5運動控制核心技術的研發與i5數控系統的產業化之后,進一步提出社會化的開發思路,將i5運動控制核心技術進行模塊化封裝,以平臺形式向數控行業產業鏈上下游的參與方(包括大中小型制造企業、裝備供應商、個體開發者、創客等)開放,為數控技術在各個垂直領域的應用與推廣打造通用的工業APP開發、應用與分享的平臺。該平臺于2017年11月向全世界發布,即被業界所熟知i5OS工業操作系統(簡稱為“i5OS”)。
一、關鍵詞
i5OS、運動控制、工業APP平臺、安全
二、發起公司和主要聯系人聯系方式
沈機(上海)智能系統研發設計有限公司 黃云鷹 18502106759
三、合作公司
智能云科信息科技有限公司 張曉 18918357719
四、測試床項目目標和概述
基于i5智能數控系統的工業APP平臺測試床項目是圍繞數控行業各個垂直領域對于智能化數控技術的需求而提出的云端協同解決方案。沈機智能基于自主知識產權的i5智能數控系統,向數控行業的裝備制造商、大中小型制造企業、個體開發者、創客等提供運動控制底層技術支撐,以開放的接口和APP開發平臺,為其提供工業APP的開發、測試及應用環境,使其能夠基于i5運動控制核心技術,快速開發各自領域內的工業APP;同時,測試床項目為成熟的工業APP提供軟件托管服務和交易商城,通過工業互聯網平臺為工業APP的交易、授權、應用與產權保護提供保障服務,促進工業APP在行業內分享與復用。
本測試床項目的目標是以i5運動控制技術為基礎,打造數控行業各個垂直領域通用的工業APP開發與應用平臺,幫助行業知識與訣竅以工業APP的形式沉淀,形成各個細分行業(如激光雕刻、激光打標、鋰電池加工、機械手控制等等,見圖1:i5OS相關行業)豐富的工業APP庫,并提供可靠的工業APP交易服務,使行業知識和訣竅可在其相關的行業領域得到快速復用。

圖1 i5OS相關行業
五、測試床解決方案架構
(一) 測試床應用場景
本測試床解決方案適用于豐富的工業應用場景:包括以運動控制技術為核心的各個工業領域,如金屬切削、激光雕刻、鋰電池加工、機械臂控制等等,在各個細分領域內,本測試床解決方案都能為其提供底層的運動控制技術和構建本領域內工業APP的開發工具鏈、微服務組件,以及統一的運行環境和線上商城。
(二) 測試床重點技術
(1) 面向云服務工業APP的數據接口協議(iPort協議)
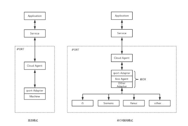
面向裝備全生命周期服務(如設備健康度診斷、遠程監控、預測性維護、資產管理等)的工業APP,需要采集大量的設備狀態和過程數據,并進行及時的處理;然而工控系統因有限的IT資源,不能滿足這種基于工業大數據采集和分析的服務型工業APP。本測試床項目的重點技術之一是自主開發的數據接口協議(iPort),以滿足數控裝備到云服務平臺(本項目中為iSESOL工業云平臺,亦能接入其他的云服務平臺)之間的數據交互和邊緣處理需求。數據接口協議(iPort協議)作為數控系統和云服務平臺之間的橋梁,具有以下幾個方面的特點:(1)實現異構數據源的裝備認證接入和數據采集(除了搭載i5數控系統的機床以外,還兼容FANUC、SIEMENS等主流的數控系統);(2)基于VPN加密通道,保障工業數據傳輸安全;(3)支持多種數據采集模式(如毫秒級的實時數據采集、非實時的周期性采集等),具有消息訂閱機制,以此建立工業APP豐富的應用場景。iPort協議支持兩種聯網模式:直連模式和間接(基于裝備接入設施iBox)模式如圖2所示,圖中搭載i5數控系統的機床裝備可直接與云服務平臺相連,并進行數據交互,其他非i5系統的機床裝備能夠接入iBox,并由iBox間接與云服務平臺連接。iBox設備上部署了iPort協議,成為其他設備與云服務平臺數據交互的中轉站。

圖2 i5OS數據接口協議(iPort)連接模式
iPort協議架構如圖3所示,基于iPort協議的通訊系統由Agent、iBox和Machine三個基本部分組成,分為兩種應用模式:直連模式和間接模式(iBox中轉),圖3 中的名詞解釋如表1。

圖3 iPort協議架構
| 表1 iPort協議架構名詞解釋 | ||
| 術語名稱 | 術語中文 | 術語解釋 |
| Agent | 代理 | 靠近服務端(云服務平臺或邊緣服務器),向上兼容不同的服務平臺,代表服務端對設備認證授權,以及與設備進行交互。代理是服務端與設備通信的主要節點,根據部署的環境,分云服務代理(Cloud Agent)和邊緣服務代理(Box Agent),其中邊緣服務代理部署在接入設施(iBOX)中。 |
| Adapter | 適配器 | 向下兼容不同品牌的設備(Machine),用于連接代理和設備,部署于設備或接入設施中。 |
| Machine | 設備 | 經過認證的設備與代理之間有連接機制,設備與代理的交互不區分云服務代理或邊緣服務代理。 |
| iBox | 接入設施 | 接入設施中部署有邊緣服務代理,與云服務代理之間有連接機制,同時邊緣服務代理還完成設備與云服務代理之間的連接機制。邊緣代理還可以連接支持其他通信協議的設備,比如OPC UA設備。 |
(2) 工業APP封裝技術
為增強工業APP對不同運行環境的兼容性,本測試床項目采用開放式的開發框架,集成了多種主流的工業軟件開發工具(如Python,QT,Kiv等),并進行統一的打包封裝,有效縮短開發時間。以i5OS測試床的開發工具 Kiv為例,Kiv框架由腳本解析引擎(負責解析腳本文件)、插件庫(封裝了工業知識的庫文件)、圖元(圖形界面的控件)共同組成。Kiv框架基于對象容器技術來管理 UI 中各個圖形控件,為開發者提供了圖形化的 APP 開發工具。
(3)工業APP授權技術
工業APP授權技術是為有效地保護工業APP的知識產權而開發與應用,從技術層面保障工業APP的所有者通過授權機制來合理獲得收益。工業APP的授權模式分為多種模式,如按使用次數授權、按使用時間授權、按使用設備授權等等。授權機制由i5OS云端應用商城來統一管控。
i5OS云端應用商城(www.i5osapp.com)允許APP的使用者通過商城賬戶在線購買APP,獲取APP加密授權文件,授權文件的下發和加密采用了金融領域的防護技術,防止授權文件的破解和更改。完整的授權機制如圖4所示。被授權的工業APP可以在手機等智能終端上被查詢,并在被授權的指定設備上被使用。

圖4工業APP授權機制
(三) 技術創新性及先進性
i5OS測試床運動控制底層數據透明化,將i5運動控制核心技術進行封裝并形成模塊,供上層調用,既有效地保護了i5核心技術的知識產權,又向社會共享了i5運動控制技術,需要指出的是,i5OS為有研發能力的平臺用戶提供了一個完整的操作系統和開發工具平臺。該測試床作為一個運動控制領域的開發性平臺,具有以下幾個方面重點的創新技術,從而區別了一般的Paas平臺。
(1)開放
其運動控制底層的相關技術i5OS全部對社會開放,以接口的形式提供給APP開發者,使得運動控制技術得到整個社會化的共享。
(2)自主
底層運動控制技術由i5研發團隊歷經5年自主研發形成。攻破運動控制底層關鍵技術,例如:軸插補運動控制、龍門軸控制、五軸RTCP技術、機床熱誤差補償等等。
(3)安全
APP安裝包和授權文件的發放經過金融級別的區塊鏈加密技術保護,應用商店集成第三方工業安全品牌,通過白名單形式安裝,雙重保障開發者的知識產權。
(4)可控
APP應用開發方便、簡單,需經過專業測試人員通過之后才可上架到i5OS應用商城中,并通過購買授權的方式獲取。通過商業模式確保開發者的利益。
(四) 測試床解決方案架構

圖5 測試床系統架構圖
(1)應用程序層
i5OS測試床不僅僅是操作系統,也包含了許多應用程序,諸如面向數控行業的CNC、面向激光行業的應用、單機自動化應用、機器人應用、示波器、熱誤差補償、等應用程序。這些應用程序可以面向不同的行業領域,并且通過功能購買組合可以搭載不同的設備性能,這點不同于其他系統固化在系統內部的軟件,更加靈活和個性化,滿足不同用戶的需求。
(2)應用通信框架層
應用程序框架層是我們從事i5OS開發的基礎,很多核心應用程序也是通過這一層來實現其核心功能的,該層簡化了組件的重用,開發人員可以直接使用其提供的組件來進行快速的應用程序開發,也可以通過繼承來實現個性化的拓展。
a) iOS/Andriod/Windows通信接口
管理i5OS和其他操作系統的遠程訪問端口;
b) 應用通信
使得不同應用程序之間存取或者分享數據;
c) 應用圖元
構建應用程序的基本組件;
d) 插件框架
軟件框架中業務模型構建的基本組成;
e) 腳本解析
對UI控件解析和為了解決代碼冗余獲取插件的屬性或方法;
f) 權限管理框架
管理使用者對系統的操作權限;
g) iport3.0
管理應用程序和云平臺數據共享和交互;
h) iAUTH
基于區塊鏈技術的授權管理平臺;
i) i5 Console
管理應用程序上線和發布平臺;
j) 高頻數據采集
針對特定事件下的機床高頻數據采集接口;
k) WIS
車間級生產任務管理框架。
(3)底層運動控制層
底層運動控制層是我們從事i5OS開發的基礎功能設施,是i5OS的核心技術,很多核心應用程序也是通過調用CNC中間件來實現其核心功能的。i5OS不是普通的操作系統,是基于運動控制算法核心,面向主機廠商/自動化方案提供商/自動化設備制造商等對象的運動控制核心軟件平臺。
a)主軸/串聯軸/輔助軸控制
針對不同功能屬性的軸的基本運動控制功能;
b) 速度前看
運動軌跡提前規劃算法,使得加工速度更加平穩,提高工件表面質量;
c) 插補前平滑
針對小線段程序運動規劃的平滑功能,有效去除加工中的毛刺;
d) 空間誤差補償
基于分布體對角線測量方法的空間誤差補償方法,得到3 項定位誤差、 6 項直線度誤差和 3 項垂直度誤差以及反向間隙誤差;
e) G代碼解釋器
自定義開發的G代碼解釋器,圖形化的編程引導工具,提高編程效率;
f) 插補后平滑
單軸運動速度規劃,有效去除加工過程中的加速度突變導致的工件表面質量差;
g)Linux內核驅動層
i5OS是基于Linux實時內核,其核心系統服務如安全性、內存管理、進程管理、網路協議以及驅動模型都依賴于Linux內核。
六、預期成果
(一) 測試床的預期測試結果,針對測試項
i5OS測試床提供了運動控制領域的操作系統平臺:向主機廠商/自動化方案提供商/自動化設備制造商提供運動控制核心軟件平臺,提供開放的APP框架,統一的開發平臺,使其能夠快速基于i5運動控制核心技術進行面向各自領域的自動化集成方案開發,行成專業領域的APP。
(二) 商業價值
i5OS搭載isesol云制造平臺的創新模式不僅僅可以用在目前已有的i5設備上,這種模式可以被復制到其他的傳統裝備上,讓設備制造商擁有核心技術可控的智能裝配,進一步搭配isesol的產能交易、租賃等模式,可以進一步引發商業模式上的變革。
(三) 經濟效益
設備的制造商、系統的集成商只要掌握自己專業優勢,就可利用APP快速構建工具鏈,結合云平臺和運動控制技術,快速地構建出智能化的、面向行業的應用,定制在行業領域具有獨特性和差異性的APP并以產品的形式推向市場,使其具備獨特的行業競爭力。通常的行業應用軟件是委托第三方團隊開發,投入成本高,產品無法產生額外的價值。i5OS平臺使得專家端的成果得到放大,單個軟件的開發成本得到降低。
(四) 社會價值
在i5OS中對于應用開發者的知識產權和專業優勢采取了安全性保護功能——區塊鏈技術。區塊鏈技術具有去中心化、無須信任系統、不可篡改和數據加密安全的特性,帶給用戶在知識產權方面的高度信任感。應用開發者,利用i5的基礎設置和APP構建工具鏈,通過簡單的操作構建出具有自主知識產權的應用,經過打包、認證、簽名,最終在i5Console平臺發布APP。系統管理人員上架審核通過之后,開發商可以在線登錄賬戶,通過給用戶授權獲利,i5從中收取服務費用,實現價值共享。我們的目標是越來越多的人使用i5OS平臺,快速聚合社會上的研發資源和能力,使得行業的生態鏈越來越繁榮。
對于不同行業的設備制造商而言,i5OS測試床及其背后豐富的工業APP庫將為設備制造商提供豐富的系統功能和應用場景,使傳統的工業控制設備由“功能機”向“智能機”升級。i5OS平臺通過授權向設備制造商提供產品及服務,替代封閉式工控系統的傳統解決方案;同時,設備制造商也可以以i5OS為基礎,開發其專用的數控系統,為其降低開發成本,提高開發速度,i5OS上提供了面向數控行業的標準解決方案。
對于掌握行業訣竅的開發者而言,i5OS測試床使得有行業專業知識和訣竅的行業專家能夠繞開研發運動控制技術的技術壁壘,在i5OS這個開放的操作系統上將自己的專業知識和訣竅以APP的形式沉淀下來,并通過有償分享的方式創造價值。一方面極大地調動了開發者的創造積極性,另一方面也方便了行業內的知識和訣竅以互聯網為渠道向全世界推廣。
七、測試床技術可行性
(一) 物理平臺
(正文 小四 宋體。行距1.5倍行距)
i5OS測試床目前搭載的是i5的硬件平臺,主板支持X86和Arm兩種架構,i5硬件均經測試驗證,可以搭載i5OS軟件系統,包括:主機、PLC、DAC、HSHA伺服驅動等。
(二) 軟件平臺
i5OS測試床作為軟件操作系統平臺,其本身就是操作系統,它是基于Linux開發環境下的Ubuntu進行定制開發。
八、和AII技術的關系
(一) 與AII總體架構的關系

圖6AII 工業互聯網體系架構圖
本測試床驗證了AII總體架構中的網絡功能中應用支撐、網絡互聯部分,i5OS測試床通過iport協議和云平臺大數據分析結合再一起,大大豐富了i5OS上工業APP的種類,驗證了數據部分的產業數據采集交換、生產反饋控制、數據集成處理等部分,i5OS平臺由于其安裝在設備上在數據采集上具有天然的優勢,通過不同的APP采集的數據,可以使得產業數據采集得到交換、生產過程得到反饋、數據能夠集中處理。測試床同時驗證了安全模塊中的設備安全、應用安全、數據安全部分,其基于區塊鏈技術的授權技術保證了用戶的應用安全,通過應用商城安裝添加白名單的操作,防止應用程序的拷貝。
(二) AII安全(可選)
(三) 詳細清單(可選)
(四) 風險模型(可選)
(五) 安全聯系人
(六) 與已存在AII測試床的關系
(1)與智能云科信息科技有限公司入選的iSESOL云制造平臺測試床的區別與聯系:
第一,應用場景不同。i5OS是應用一個在工業裝備,終端機器上的,控制設備運動的系統;而云平臺是應用在工業互聯網上的大數據平臺,它通過和設備互通具有采集數據、分析數據、下發數據的功能。
第二,實現功能不同。云制造平臺和i5OS平臺共同合作和聯通能打造出面向工業領域的新型APP功能,舉個例子,如果只有i5OS我們能實現單臺設備的智能管控功能,但由于設備端采集的數據量不夠,分析能力較弱、沒有對整個車間管理的功能,如果只有云制造平臺采集來的數據就沒有實際的落地的應用,沒有終端的操作系統配合開發的特色APP這些數據也是產生不了價值的。
(2)與北京航天智造科技發展有限公司入選的基于工業互聯網平臺的制造服務測試床項目的區別,該測試床項目將工業APP作為一個服務層嵌入在INDICS云制造服務平臺中,由云制造服務平臺提供基于工業大數據采集和分析處理的工業APP服務,如遠程監控、智能診斷、售后服務、資產管理;這些工業APP提供的是工業領域通用的智能化服務,不涉及細分行業內對運動控制技術的沉淀,同時,該測試床項目沒有工業APP交易和授權使用機制。
九、交付件
(1)設計階段:
需求設計文檔;
(2)實現階段:
i5OS測試床平臺,包含完整的開發工具鏈。
十、測試床使用者
i5OS測試床是開放的測試床,其開發環境的獲取需要通過網站的開發者身份注冊和開發者身份認證之后,申請開發者環境即可獲取。
十一、 知識產權說明
i5OS測試床的知識產權屬于沈機(上海)智能系統研發設計有限公司,但是i5OS測試床上的工業APP的知識產權歸開發者所有。
十二、 部署,操作和訪問使用
i5OS測試床開發環境是部署在電腦通用的操作軟件中,是經過加密狗保護的開發環境套裝,可通過i5OS開發者中心網站www.i5osapp.com,認證成為i5OS開發者免費獲取。開發環境中的虛擬機是經過簽名定制和加密狗雙重保障,配套相關的安裝說明文檔。
i5OS的運行環境部署在i5 CNC-box上,如下圖所示,它是應用在工業現場的主機,具有防水防塵防油污的特點;內置RFID讀卡模塊,方便用戶管理人員權限等級;全鋁合金機身,可回收再制造;便捷的觸屏操作,更友好的交互體驗;高達百萬次的按鍵使用壽命。

十三、 資金
十四、 時間軸
(1)2018年6月
里程碑:測試床床面向市場化的底層穩定版本和配套開發輔助;
特色功能:車間批量推送安裝、軟件管家的應用白名單保護。
(2)2018年9月
里程碑:針對數控機床行業的主流產品,如車床、銑床、五軸機床,開發完整的工業APP解決方案,并擴展至其他2~3個行業的解決方案。
(3)2019年3月
里程碑:基于測試床形成各行業的解決方案,開發平臺聚集一定量開發者,上線較多數量的第三方工業APP。
十五、 附加信息
運動控制技術(Motion Control)的發展是制造自動化前進的旋律,是推動新的產業革命的關鍵技術。對于數控系統來說,最重要的是控制各個電機軸的運動,這是運動控制器接收并依照數控裝置的指令來控制各個電機軸運動從而實現數控加工的,數據加工中的定位控制精度、速度調節的性能等重要指標都與運動控制器直接相關。比如數控機床里面要協調XYZ軸電機,完成插補動作;在機器人里面,協調各個關節的電機,使得末端執行器的運動軌跡/速度符合要求并達到目標位置。
運動控制技術是裝備制造領域一項非常通用的核心技術,類似機器人、注塑機、紡織、印刷等領域都需要運動控制核心技術的支撐。但是運動控制技術又是一項投入巨大,收獲緩慢的基礎核心技術研發。